Hangzhou Cagon Trasmissione Technology Co., Ltd.
Hangzhou Cagon Trasmissione Technology Co., Ltd.
Prodotti
Prodotti
Cambio Dredger
  • Cambio DredgerCambio Dredger
  • Cambio DredgerCambio Dredger
  • Cambio DredgerCambio Dredger
  • Cambio DredgerCambio Dredger
  • Cambio DredgerCambio Dredger

Cambio Dredger

Questa serie Special per il cambio Dredger per la pompa di liquami è un nuovo prodotto sviluppato per tutti i tipi di dragaggi, soddisfacendo così le esigenze di dragaggio di fiumi o laghi nel paese. Possiede funzioni di stringenza e dichiarazione, riduzione della velocità e forza di trazione della girante. Nel frattempo, il cambio è adatto anche per il trasporto di liquami a terra.

Caratteristiche

1. Questo prodotto è uno speciale per il cambio Dredger per la pompa del liquame, progettato e prodotto dalla media che combina la tecnologia introdotta dalla Germania e l'attuale tecnologia avanzata nella nostra azienda. Pertanto, il cambio della serie è perfetto nelle prestazioni, affidabile nel funzionamento e conveniente per la manutenzione.

2. Il nostro cambio è progettato con un alloggiamento integrale, che può anche essere usato come telaio. Quindi è dotato di rigidità perfetta e struttura compatta. Rispetto a un sistema di pompe di liquame che applica frizione a tubo pneumatico, questo sistema presenta i vantaggi della lunghezza assiale più breve e più economica.

3. I cuscinetti di spinta con grande capacità vengono utilizzati per sopportare una maggiore forza di trazione dalla girante della pompa di liquame.

4. Applica un sistema idraulico di tipo tubo, che è conveniente per la manutenzione. E la linea dell'olio ad alta pressione utilizza il tubo per ridurre molto il rumore nel funzionamento del cambio.


A condizione che il cambio Dredger debba essere gestito e mantenuto correttamente in base al manuale, funzionerà in modo affidabile per un periodo piuttosto lungo. In caso di richieste speciali, si prega di contattare direttamente il designer.


Capitolo ⅰ Dati tecnici

1. Tipo di nave corrispondente: Dredger di ogni tipo (anche per il trasporto di liquami sulla terra)
2. Modalità di trasmissione: Ingranaggi cilindrici elicoidali, due alberi e due marce
3. Tipo di frizione: Clutch di attrito idraulico, bagnato e multi-piastra
4. Distanza centrale: 360mm
5. Rapporto: 2.2 ~ 4 (può essere determinato su richiesta effettiva)
6. Potenza di input: 1060kW (la potenza e la velocità possono essere determinate a seconda delle situazioni effettive)
7. Velocità di input: 1300 ~ 1800 giri / min
8. Trans. coppia 0,7 kW/rpm
9. Spinta valutata dalla girante: 15T
10. Direzione di rotazione: Estremità di ingresso (albero di ingresso rivolto): in senso orario
Estremità di uscita (albero di uscita rivolto): in senso orario
11. Efficienza meccanica: ≥98%
12. Tempo di coinvolgimento: 2s - 6s
13.1 Pressione dell'olio di lavoro: 1,5 - 1,63 MPa
13.2 Lub. pressione dell'olio
A velocità normale:
Alla velocità inattiva:
0,2 - 0,4 MPa
≥0,05 MPa
14. Marchio petrolifero: HC-11, HQ-10 o SAE30 (privo di dipendenti da EP)
15. Capacità del petrolio: ~ L
16. Lub. Temperatura dell'olio: 40–60 ℃
17. Max. Temperatura dell'olio: ≤80 ℃
18. Consumo di acqua di raffreddamento: ≥5 t/h
19. Temperatura dell'acqua di raffreddamento: ≤32 ℃
20. Velocità di coinvolgimento ≤60% della velocità del motore nominale


Capitolo ⅱ Struttura Introduzione

1. Generale

Questo sistema di cambio Dredger è una scatola di riduzione a singolo stadio per la pompa di liquami, con alberi di ingresso e uscita disposti in verticale. Poiché il meccanismo è speciale progettato per guidare la pompa di liquami, la custodia della pompa di liquame è collegata all'alloggiamento del cambio con bulloni e rotore della pompa di liquame direttamente montato sull'albero di guida di uscita. Il cambio è adatto non solo a tutti i tipi di dragaggi, ma anche al trasporto di sospensione terrestre e alla pompa dell'acqua che guida direttamente.

2. Struttura di ciascun gruppo

(2. 1) Gruppo albero di ingresso:

L'involucro della frizione è di restringimento sull'albero di ingresso; Il vettore della frizione è schizzato collegato all'ingranaggio dell'albero che è supportato da due cuscinetti a rulli conici.

Ci sono due fori di offerta di olio all'estremità posteriore dell'albero di ingresso, uno per l'olio idraulico e l'altro per l'olio di lubrificazione. All'interno della scanalatura all'estremità posteriore dell'albero, un anello di tenuta (con spessore assiale originale di 3. 4 mm) è progettato per la tenuta dell'olio. Se è logoro a uno spessore inferiore a 2. 8 mm, dovrebbe essere rinnovato.

(2. 2) Gruppo albero di uscita:

L'ingranaggio di uscita e l'albero di uscita sono adattati a restringimento. Un cuscinetto di spinta è progettato per sopportare la spinta. All'estremità di uscita, per sigillare vengono utilizzati un impacco O-ring e amianto.

(2. 3) Assemblaggio abitativo:

L'alloggiamento del cambio è costituito da parti superiori e inferiori. La parte inferiore è lanciata separatamente e ha una rigidità perfetta con molte costole distribuite su di essa.

(2. 4) Assemblaggio delle tubazioni:

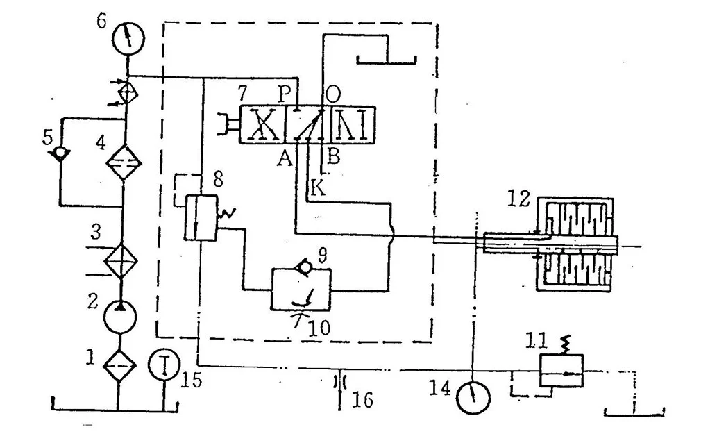
L'olio passa dall'orifizio di aspirazione alla pompa dell'olio, al filtro, alla valvola a due stadi, al dispositivo di raffreddamento e quindi a ciascun punto di lubrificazione o frizione.

Quando il motore è stato avviato, la pompa dell'olio 2 inizia a funzionare. L'olio dal pozzetto attraverso il prefiltro 1 viene compresso e trasmesso al filtro 3 e secondario 4. Dopo essere raffreddato e filtrato, una parte dell'olio conduce al cilindro della clutch davanti 12 tramite la valvola di inversione 7 e l'altra parte overflow a 12 e 13 e ingranaggio di trasmissione tramite tubo di ugello 16. L'olio di lubrificazione superflua ritorna al pozzo di olio attraverso Lub. Valvola di pressione 11. Se il filtro secondario 4 è ostruito, il petrolio può funzionare dalla valvola di by-pass 5.

Dredger Gearbox

Diagramma del sistema idraulico

1. Prefilter 2. Pompa dell'olio 3. Filtro secondario 4. Filtro secondario
5. Valvola di by-pass 6. Gastificatore di pressione di lavoro 7. Valvola di inversione
8. Valvola di pressione di lavoro 9. Valvola di ritorno 10. Valvola dell'acceleratore
11. LUB. Valvola di pressione 12. Avanti frizione 13. lub. manometro
14. Termometro dell'olio 15. TUBO DELL'ugello

Quando la valvola di inversione 7 è in posizione di arresto, l'olio idraulico non può essere comunicato ai fori A, B e K. Olio nel cilindro della frizione 12 e alla fine della pressione di lavoro L'estremità di controllo del ritardo dai fori A, B e K alla pozzetto dell'olio attraverso la reverse

valvola. Al momento, la molla nella valvola di pressione di lavoro "torna a casa" e la pressione del sistema è relativamente bassa come pressione iniziale dell'olio (0. 3-0. 6mPa).

Quando la valvola è in posizione di fidanzamento, l'olio pressato entra nel cilindro della frizione davanti 12 attraverso il foro A per far passare la frizione in anticipo. Nel frattempo, l'olio passa attraverso il foro K e il controllo della valvola dell'acceleratore 9 ed entra nell'estremità di controllo della valvola di pressione di lavoro per comprimere la molla, rendendo così l'aumento ritardato di olio di lavoro al valore specificato (1. 9-2. 2MPA).

La dimensione dell'orifizio della valvola a farfalla 10 può essere regolata. Se consegnato, il tempo coinvolgente è impostato come 2-4. E normalmente non avvitare da solo.

La pressione di lavoro può essere letta sul manometro.


Capitolo ⅲ Manutenzione e riparazione

1. A condizione che l'installazione e il funzionamento corretti siano effettuati in base al manuale di servizio, il cambio può funzionare in modo affidabile per un periodo piuttosto lungo, con la revisione di oltre 10.000 ore.

2. Il cambio viene consegnato con olio anti-russa efficace per 12 mesi dalla data di consegna. Se viene immagazzinato per un lungo periodo o smesso di funzionare, dovrebbe essere ispezionato e mantenuto tempestivo.

3. Dopo il cambio in esecuzione per le 50 ore iniziali, pulire la cartuccia del filtro e il prefiltro e cambiare olio pulito. In seguito, mantenere secondo le regole specificate in "articoli di manutenzione".

4. Al fine di mantenere il cambio in funzione in condizioni adeguate, è possibile organizzare un'ispezione e manutenzione regolari come segue:

(1) Acc. Agli articoli di classe 1
(2) Ogni 1000H di manutenzione ACC. Agli articoli di classe 2
(3) Ogni 5000H di manutenzione ACC. Agli articoli di classe 3
(4) Ogni 10000h manutenzione ACC. Agli articoli di classe 4


Appendice ⅰ Articoli di manutenzione

NO. Descrizione 1 2 3 4
1 Controllare il livello dell'olio all'interno del cambio Ö
2 Pulisci al di fuori del cambio Ö
3 Controlla qualsiasi rumore anormale Ö
4 Controllare eventuali perdite di olio o acqua Ö
5 Filtro pulito Ö
6 Valvola operativa pulita Ö
7 Controllare le guarnizioni dell'olio nel punto olio-in Ö
8 Controllare l'accuratezza dell'assemblaggio dell'accoppiamento di input e dell'accoppiamento ad alto contenuto di flessibilità e del volano del motore Ö
9 Controllare l'accuratezza del gruppo dell'accoppiamento di uscita e delle viti di collegamento Ö
10 Rimuovere la piastra di copertura superiore, girare e controllare gli ingranaggi e le grinfie Ö
11 Controllare e rinnovare il petrolio Ö
12 Controllare la pompa dell'olio Ö
13 Controllare e pulire il dispositivo di raffreddamento Ö
14 Controllare (o sostituire) le guarnizioni in ingresso e output Ö
15 Controllare i dischi di attrito e gli anelli di tenuta Ö
16 Smantellare l'alloggiamento, controllare (o sostituire) ogni cuscinetto Ö
17 Pulisci ogni parte del cambio e il passaggio dell'olio Ö


APPENDICE ⅱ Stuffa di problemi

NO. Problemi Cause Rimedi
1 Vibrazione del cambio 1. Accuratezza dell'installazione
2. VITE DI ACCOPPAGGIO DI INGRESSO E USTLOOSE O BOLLI DI CAMBINO E SIPORTER
3. Vibrazione torsionale
1. Acc. Acc. al manuale
2. Stringere 3. Evitare la velocità di risonanza
2 No, troppo bassa o instabile pressione dell'olio 1. Pompa dell'olio mandato
2. Lancio dell'olio
3. aspirazione dell'aria nel tubo di ingresso
4. Messicatore di pressione dell'olio?
5. Direzione rotante del motore non corrispondente
1.Repair o rinnovare
2. Aggiungi olio
3. Stringere bulloni
4. Sostituire
5. Controllare e risolvere Acc. al manuale della pompa dell'olio
3 Pressione idraulica troppo bassa 1. Fallo di ritardo del ritardo
2. Pistone obstruito
3. Forza di primavera insufficiente
1.Clean
2. Clean and Repair 3. Riepla la molla o aggiungi rondelle
4 Lub instabile. pressione dell'olio Lub ostruito. nucleo della valvola dell'olio Pulire e riparare
5 Frizione che scivola 1.Too Pressione dell'olio bassa o instabile
2. Dischi di attrito
3. Olio incollato o anello di tenuta usurata
1. Riferisci a n. 2 e 3
2.Renew
3.Controllare la via dell'olio o sostituire l'anello di tenuta
6 Temperatura olio eccessiva. 1.Clutch slipping
2. -selezionato in acqua di raffreddamento più fresca o insufficiente
3.Too Livello di olio elevato
4. Parti di corsa misurate come cuscinetti, anelli di spinta ecc.
5.Oil invecchiato
1.Confrescente al n. 5
2. CREEDER CLEAN, Aumenta il flusso di acqua di raffreddamento
3. Miltum Oil Acc. per l'astina di livello
4. Riepla parte della parte danneggiata 5. RENEW OLIO
7 Perdita di acqua o olio 1. Sigilli danneggiati
2. Face di sigillatura o impurità in grado di miscelare
3. Viti a tema sulla faccia di falso
1. Sostituire il sigillo
2. REPAIR SEILING VADE E CAPPORE GUAGGIO
3. Serrare le viti


Assemblaggio dell'albero input (JL360-1A-01-000)

NO. Descrizione Disegno n. Qty Osservazioni
1 Flangia di ingresso JL360-017 1 17
2 Vite JB/ZQ4444-86 1 18
3 Anello a scatto GB/T894.1-86 1
4 Cuscinetto 224 1 29
5 Noce JL360-021 1 21
6 Piatto di deflettore JL360-030 1 30
7 Cilindro JL360-020 1 20
8 Pistone JL360-035 1 35
9 X-ring 4451 1 36
10 Anello a scatto S52029-451 1 32
11 X-ring 4432 1 34
12 Anello a scatto S52029-458 1 33
13 Albero di ingresso JL360-022 1 22
14 Chiave GB/T1567-79 1 23
15 Dado esagonale Din6915A HV10 32 43
16 Bullone JL360-042 16 42
17 Involucro della frizione JL360-044 1 44
18 Ex. Disco di attrito 3/0530/0034/1 9 37
19 In. Disco di attrito 3/0539/0046/2 9 40
20 Piatto di spinta JL360-041 1 41
21 Primavera 410-021-215 9 24
22 Carrier frizione JL360-038 1 38
23 Cuscinetto 42520E 1 11
24 Flangia della frizione JL360-082 1 82
25 Cespuglio di distanziali petroliferi JL360-008 1 8
26 Cuscinetto 32226 1 7
27 Ingranaggio dell'albero di ingresso JL360-006 1 6
28 Cuscinetto 32228 1 5
29 O-ring GB/T3452.1-82 2 19
30 Albero trans olio-in JL360-009 1 9
31 Cuscinetto 111 1 4
32 Anello di sigillatura 300-01-016 2 3


Ⅱ.Output Alwft Assembly (JL360-1A-02-000)

NO. Descrizione Disegno n. Qty Osservazioni
1 Anello a scatto GB/T894.1-86 1
2 Ruota JL360-045 1
3 Ghiandola JL360-052 1
4 Primavera NB170-017 8
5 Cuscinetto 903942E 1
6 Distanziatore JL360-056 1
7 Cuscinetto 3053730 1
8 Bush distanziatore JL360-058 1
9 NATTO ROURD JL360-1-077 1
10 Piastra di pressione JL360-060 1
11 Cuscinetto 39434E 1
12 Piastra di pressione JL360-062 1
13 Ingranaggio JL360-064 1
14 Chiave GB / T1096-79 1
15 Albero di uscita JL360-047 1
16 Cuscinetto 3003740 1


Ⅲ.housing Assembly (JL360-1A-03-000)

NO. Descrizione Disegno n. Qty Osservazioni
1 Alloggio superiore JL360-054 1 54
2 Bullone GB/T5782-86 2 83
3 Bullone GB/T5782-86 6 78
4 Spillo GB / T118-86 2 73
5 Bullone GB/T5783-86 12 70
6 Spazio 120C-04-000 1 63
7 Bullone GB/T5783-86 16 74
8 Copertina JL360-075 2 75
9 Guarnizione JL360-076 2 76
10 O-ring GB/T3452.1-82 1 80
11 Spillo GB/T119-86 2 31
12 Bullone GB/T5783-86 4 67
13 Coperchio di sigillatura split JL360-066 1 66
14 Imballaggio 15,9 × 15,9 1 81
15 Noce GB/T6170-86 4 68
16 Bullone GB/T5783-86 16 50
17 Manica del deflettore dell'olio JL360-002 1 2
18 Blocco distributore JL360-001 1 1
19 Bullone JB/T1000-77 2 13
20 Rondella di rame Q20-03 2 14
21 Alloggi più bassi JL360-012 1 12
22 Noce GB/T6170-86 6 77
23 Sigillo dell'olio GB/T9877.1-88 2 46
24 Grande copertura finale JL360-015 1 15
25 Bullone GB/T5782-86 10 69
26 Imballaggio 9,5 × 9,5 1 27
27 Coperchio di sigillatura split di ingresso JL360-026 1 26
28 O-ring GB/T3452.1-82 1 25
29 Spillo GB/T120-86 2 19
30 Bullone GB/T5782-86 6 16


Dati per il calcolo delle vibrazioni torsionali per il cambio a pompa di liquame JL360-1A

Dredger Gearbox


Ⅰ. Momento di inerzia

I1. Flangia di ingresso e parte dell'albero di ingresso.

I2. Cilindro, pistone, portatore di frizione, dischi di attrito interno, albero dell'olio e parte dell'albero di ingresso.

I3. Involucro frizione, flangia della frizione, dischi di attrito esterni e parte dell'ingranaggio dell'albero di ingresso.

I4. Parte dell'ingranaggio dell'albero di ingresso.

I5. Ingranaggio di uscita e parte dell'albero di uscita.

I6. Parte dell'albero di uscita.

Ⅱ. Rigidità torsionale

C1. Albero di ingresso

C2. Ingranaggio dell'albero di ingresso

C3. Albero di uscita


Scheda dati per il calcolo delle vibrazioni torsionali del cambio JL360-1A

Ⅰ. Momento di inerzia

Codice Rapporto Momento di inerzia
i I (kg · ㎡)
I1 2. 56 0. 9137
I2 2. 56 1. 1786
I3 2. 56 3. 9177
I4 2. 56 0. 2862
I5 2. 56 9. 734
I6 2. 56 0. 729


Ⅱ. Rigidità della molla torsionale e diametri dell'albero

Codice Rapporto Rigidità primaverile torsionale Diametri dell'albero
i C (10 N · m/rad) d (mm)
C1 2. 56 5. 18 110
C2 2. 56 12. 66 130/45
C3 2. 56 9. 79 150


Nota:*1 valore assoluto, non convertire il valore

*2 albero vuoto


Tag caldi: Cambio Dredger
Invia richiesta
Informazioni di contatto
Ottieni quotazioni di prezzo personalizzate per trasmissioni marine entro 24 ore. China Factory con certificazioni multi-classificazione. Invia ora i requisiti del tuo progetto!
X
We use cookies to offer you a better browsing experience, analyze site traffic and personalize content. By using this site, you agree to our use of cookies. Privacy Policy
Reject Accept